—、典型的壓氣站工藝流程
壓氣站的主要功能是給天然氣增壓,提高管道輸送能力。同時,還可以對天然氣分離和收發清管器的功能,并能在事故下對輸氣干線進行放空。
其流程主要有:
(1)正輸流程——天然氣進站,經過濾分離、壓縮機增壓后向下游供氣。
(2)越站流程——天然氣通過越站閥直接向下游供氣。
(3)壓力越站流程——天然氣進站,未經壓縮機增壓直接向下游供氣。
(4)收發清管器流程——接收上一站清管器,向下一站發送清管器。
典型壓氣站工藝流程如圖3-8所示。

圖3-8 典型壓氣站工藝流程圖
二、工藝流程操作
1.放空操作
1)放空前的要求
(1)根據放空現場情況安排警戒人員。
(2)放空管周圍50m范圍內不得有車輛和行人。
(3)100m(順風方向200m)范圍內不得有明火。
2)放空
(1)過濾分離器和旋風分離器放空操作時,先打開球閥,用放空閥控制放空。
(2)開啟放空閥時應緩慢,不得過猛。
(3)關閉放空閥時,先關閉放空閥,后關閉球閥。
(4)清管器接收筒和清管器發送筒放空操作時,開啟放空閥時應緩慢,不得過猛。
2.排污操作
1)排污前應具備的條件
過濾分離器和旋風分離器排污前,應先從工作流程中隔離出來,然后放空降壓后再進行排污。
2)排污前的檢查
(1)檢查排污池周圍50m內,確保沒有無關人員和車輛進入。
(2)觀察排污時風向,使工藝場站處于上風口。
(3)排污前,應往排污池內澆入適量清水。
3)排污
(1)過濾分離器、旋風分離器、匯管和清管器接收筒排污時,應先全開球閥,用排污閥控制排污。
(2)開啟排污閥時應緩慢,不得過猛。
(3)關排污閥時,應先關閉排污閥,后關閉球閥。
(4)操作排污閥時,應用耳仔細聽排污管內流體聲音,判明管內流動的是液體、雜質還是氣體,待沒有液體、雜質流動聲后方可關閉排污閥。
(5)在進行過濾分離器、清管器接收筒內部清污操作時,打開盲板(盲孔)后,應立即向接收筒內澆入適量清水(濕式作業),以防止硫化鐵自燃和粉塵飛揚。
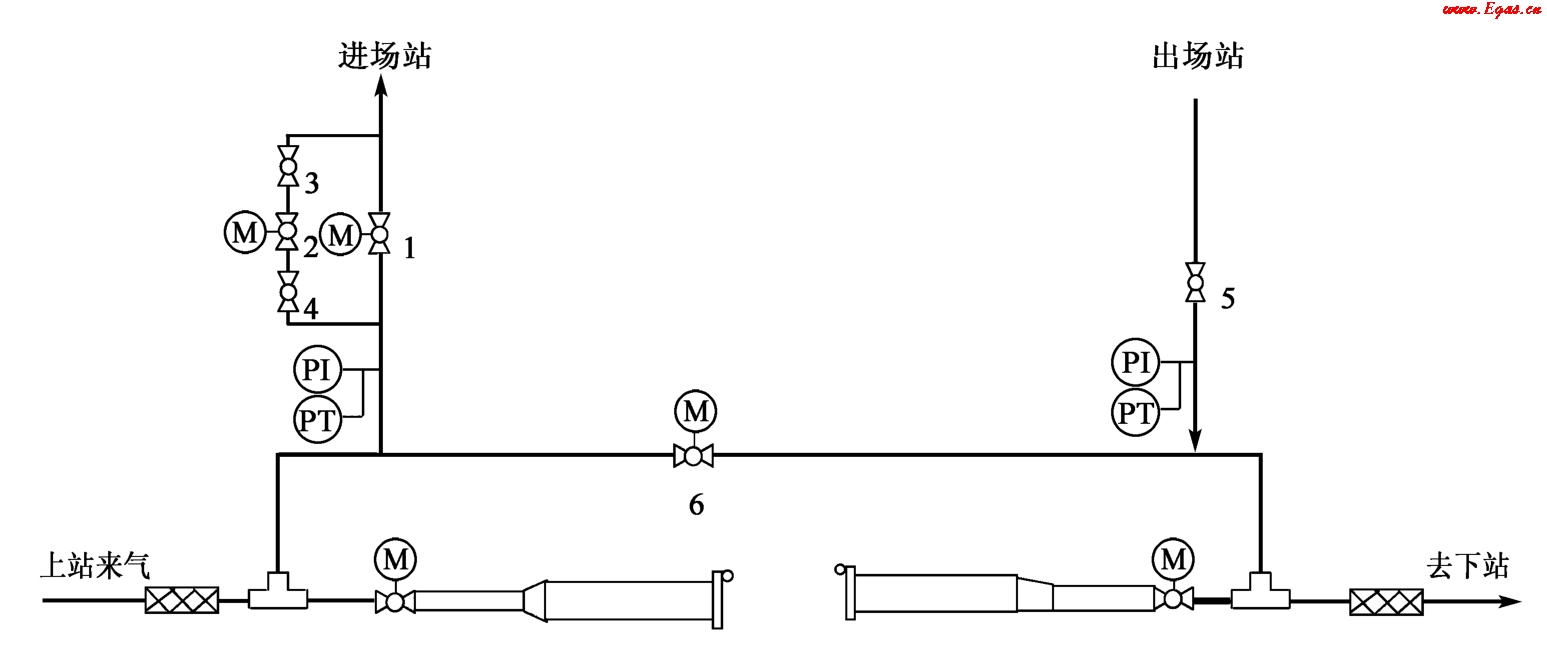
3.站場開氣操作
(1)場站升壓前,應關閉進站閥1,全開閥3、閥4。
(2)緩慢打開閥2控制進氣。
(3)觀察閥1上、下游壓力表PI,待閥1上、下游壓差小于0.1MPa時,打開閥1。
(4)關閉閥2、閥3、閥4。
站場開氣操作示意圖如圖3-9所示。
圖3-9 站場開氣操作示意圖
4.正常流程和越站流程切換操作
1)從正常流程到越站流程的切換操作
打開閥6,關閉閥1和閥5,將流程切換到越站流程。
2)從越站流程到正常流程的切換
(1)當場站內帶壓時,打開閥1、閥5;關閉閥6。
(2)當場站內不帶壓時,按站場開氣進行操作;關閉閥6。
正常流程和越站流程切換操作示意圖如圖3-10所示。

圖3-10 正常流程和越站流程切換操作示意圖
本文摘自石油工業出版社《輸氣管道運行維修技術》(馮春艷,徐秀澎,趙璇,賽維鈺,羅彩霞)
您可以選擇一種方式贊助本站

支付寶轉賬贊助

微信轉賬贊助




